Adapter Rapido Series 7, 8, 9 do TO Series 5 i 8

SKU TAdapRap Kategorie , Marka:

Dostępne metody dostawy:

DPD:180,00 

997,49 1 499,00  brutto
Cena zawiera podatek VAT (+23%) 810,97 zł netto

100% zabezpieczone płatności

Wysyłka w 24 godziny

Pomoc techniczna i doradztwo zakupowe

30 dni na zwrot

Opis

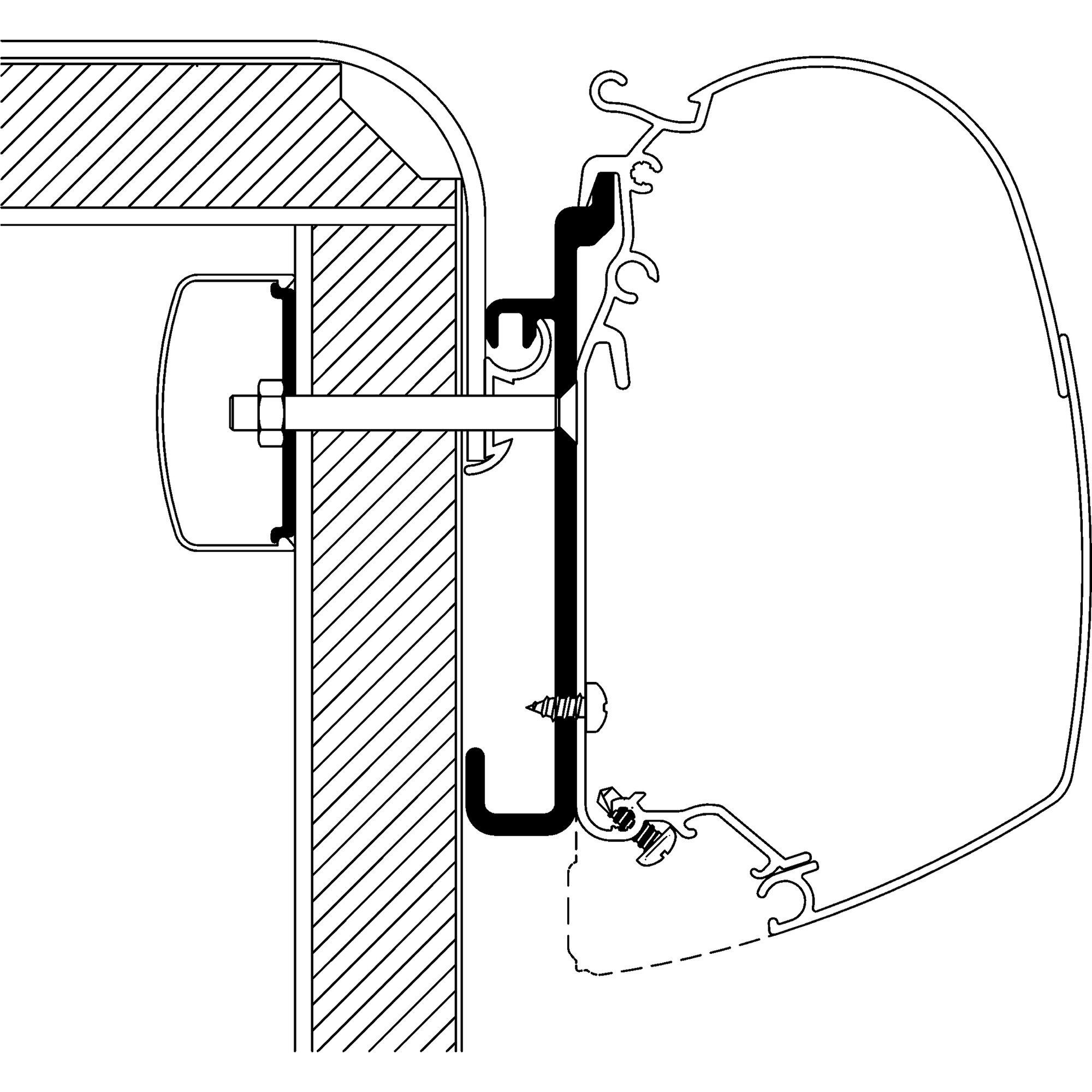
Adapter markizy do kamperów Rapido.

Specyfikacja

Długość (mm)

3000, 3500, 4000, 5000

Numer producenta

307931, 307942, 307955, 308854

Płyty adapter

1

Numer artykułu u dostawcy

307931, 307942, 307955, 308854

Wybierz model pojazdu

Rapido Serie 7, 8 & 9, Wohnmobil, 1998 – heute

GTIN

5415182004237, 5415182004275, 5415182004336, 5415182007573

Masa netto

7 kg, 7,5 kg, 8 kg, 10,8 kg

Wymiary pakowania największy

289 cm, 339 cm, 390 cm, 487 cm

Wymiary pakowania najmniejszy

10 cm

Wymiary pakowania średni

13 cm

Pasuje do DE

Wandmarkisen Serie 5, 8

Pasuje do EN

Wall Awnings Series 5, 8

Marka

Thule

PRZERWA URLOPOWA

Udajemy się na zasłużony urlop w dniach
28.04 - 11.05.2025

Zamówienia są przyjmowane do 25.04 do godz. 15.00
W razie pytań prosimy o mail ↓